Gnee Steel (Tianjin) Co., Ltd. is one of the most reliable manufacturers and suppliers of 75kg high hardness railroad steel rail in China, also supports customized service with low price. Please feel free to buy cheap 75kg high hardness railroad steel rail made in China here from our factory.
Product Introduction
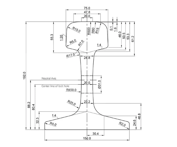
As the core component of railway tracks, GB heavy rails are produced in strict accordance with national GB standards and play an irreplaceable and key role in the laying and maintenance of railway lines. They are mainly made of high-quality carbon steel or low-alloy steel, and are combined with advanced smelting technologies such as vacuum degassing and refining outside the furnace to effectively remove harmful impurities and gases in the steel, improve the purity of the steel, and thus enhance the fatigue resistance and fracture resistance of the heavy rails. These excellent properties enable GB heavy rails to meet the extremely stringent requirements of railway transportation for track materials. Whether facing the high frequency and high speed operation of passenger trains or the heavy load pressure of freight trains, they can maintain stable performance and ensure the safety and efficiency of railway transportation.
The 75KG weight specification gives it a larger cross-sectional size and mass, and it can withstand greater pressure and load. The high hardness further enhances the bearing capacity of the rail, enabling it to adapt to the operation of heavy-load trains, such as the Daqin Railway and other heavy-load lines, which can withstand train loads of 30 tons axle weight, effectively reducing the deformation and damage of the rail under heavy pressure. In addition, high hardness helps to improve the wear resistance of the rail surface. Under the long-term friction of the train wheels, the wear rate of the rail slows down, and it can maintain a good surface finish and geometry, extend the service life of the rail, reduce the frequency of rail replacement due to wear, and reduce maintenance costs. This is especially important for busy railway lines, especially for high-speed railways, such as curves and switches, which are severely worn.

Product Specifications

Product Application
75KG heavy rail application scenarios
▆ Heavy-load railways: such as the Daqin Railway, 75kg/m high-hardness rails can withstand the huge pressure of 30 tons of axle weight. With its high strength and high wear resistance, it can adapt to the transportation needs of large axle weight and large volume, reduce the wear and deformation of the rails, extend the service life of the rails, and reduce maintenance costs.
▆ Special sections of high-speed railways: such as bends, turnouts and other easily worn parts, use 75KG high-hardness rails to better maintain the shape and dimensional accuracy of the track, and ensure the safety and stability of the train when running at high speed.

Product Packaging & Delivery
The end protection system of the export heavy rail adopts an innovative design concept. The main body of the protector is injection molded with glass fiber reinforced nylon material, and a high elastic silicone buffer layer is embedded inside, which improves the impact resistance by 40%. Before installation, the rail end is sandblasted and coated with zinc chromate anti-rust primer. The protector is fixed with a quick-release clamp, and the installation torque is controlled within the range of 25-30N·m. A series of protection kits have been developed for different rail types, and the surface of the protector is laser engraved with product information and installation direction instructions.


GNEE RAIL is a service provider specializing in the global trade of GB standard heavy rail products. The company has more than ten years of international trade experience and has established a marketing network covering major markets around the world. We maintain strategic partnerships with many large steel mills to ensure stable supply and reliable quality.
The company is equipped with a multilingual business team and technical consultants, and can provide professional product selection suggestions and technical support to customers in different countries and regions. We innovatively launched the "full-cycle project service" model, covering all aspects such as preliminary consultation, product supply, and quality tracking. With flexible trade methods and efficient logistics systems, we are committed to helping customers optimize procurement costs and improve project execution efficiency.







Hot Tags: 75kg high hardness railroad steel rail, China 75kg high hardness railroad steel rail manufacturers, suppliers, factory, American Standard Steel Rail, Australian 1085 Standard Steel Rail






