What is the exact web thickness in the 60e1 rail dimensions?
The 60E1 rail, also called UIC60 rail, is a heavy rail standard widely used in high-speed, freight, and mixed-traffic railway lines. Its performance depends not only on head and base dimensions but also on the web thickness, a critical parameter in the 60e1 rail profile that directly affects load transfer, bending resistance, and fatigue behavior. The 60e1 rail weight kg per meter is 60 kg/m, and strict adherence to uic60 rail dimensions ensures stable track geometry and long service life.
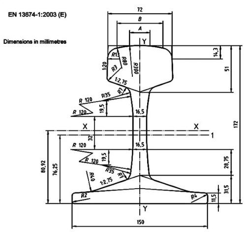
The web thickness is standardized in EN 13674-1 for 60E1 rails to ensure proper load transfer between rail head and base.
uic60 rail specification:

| UIC860 Standard | |||||||
| Size | Dimension | Weight (kg/m) | Material | Length (m) | |||
| Head (mm) | Height (mm) | Base | Web | ||||
| UIC54 | 70 | 159 | 140 | 16 | 54.43 | 900A/1100 | 12-25 |
| UIC60 | 72 | 172 | 150 | 16.5 | 60.21 | 900A/1100 | 12-25 |
The web thickness directly impacts rail bending stiffness, resistance to shear, and overall structural integrity of the 60e1 rail profile.
GNEE RAIL maintains tight tolerances on web thickness, ensuring that uic60 rail sections fit fastening systems perfectly and distribute loads effectively to sleepers.
Why is web thickness important?
Rail web thickness is critical for ensuring structural integrity, preventing lateral failure (rail tilting), and managing high-stress loads, especially in heavy-haul and high-speed applications. A thicker web enhances fatigue life, prevents buckling under heavy vertical loads, and keeps the track gauge stable by resisting lateral pressure from wheels on curves.
Why Rail Web Thickness is Important:

- Structural Stability and Strength: The web acts as the backbone of the rail, connecting the head (which takes the load) and the base (which distributes it). A thicker web enhances the rail's overall vertical and lateral bending strength.
- Fatigue and Life Extension: Thickened web designs (e.g., 16.5–18 mm) can increase the rail's fatigue life by over 1.5 times, which is essential for heavy-haul traffic to prevent premature fatigue cracks or fractures.
- Preventing Rail Tilting: Thin webs run a higher risk of failing under lateral loads, causing the rail to tilt and breaking the track gauge, which is hazardous.
- Stress Distribution in Curves: On curved tracks, the web withstands significant lateral forces from train wheels. A robust web helps maintain the correct rail alignment, reducing the risk of derailment.
FAQ
Q1: What is the web thickness of a 60E1 rail?
A: 16.5 mm, providing structural support between rail head and base.
Q2: Why is web thickness important?
A: It affects bending resistance, load transfer, and fatigue life.
Q3: Can web thickness vary between rails?
A: Standardized rails must conform to EN 13674-1; GNEE RAIL ensures strict dimensional control.
Q4: Does thicker web mean heavier rail?
A: Yes, but the 60E1 profile balances weight and performance for optimal track behavior.
Q5: Can GNEE RAIL verify web thickness before delivery?
A: Yes, each rail is inspected for web thickness, head and base dimensions, and profile accuracy.
GNEE RAIL supplies UIC60 and 60e1 rails with precise web thickness, head width, base width, and overall profile. Rails are rolled and inspected to maintain 60e1 rail dimensions and 60e1 rail weight kg per meter, ensuring compatibility with fastening systems and long-term structural stability. Optional processing such as cutting, drilling, and matched fastening components is available to support installation. Contact GNEE RAIL to get technical support and tailored rail supply solutions with verified web thickness and full profile accuracy.

